制药项目全方位风险管理

制药项目全方位风险管理

风险管理前言

      很多时候我们在制药项目中仅仅考虑了质量风险管理,当然正如ICHQ9中定义的质量风险管理(QRM)是一个系统过程,贯穿于药品的产品生命周期,用于风险的评估,控制,交流和审核。而很多时候常常忽略了其他的风险,甚至是至关重要的风险,例如:产品上市,项目过程中的风险等,在整个项目全生命周期中的所有风险管理都至关重要。本次授课是针对全面风险管理方法,涵盖了全部的项目风险和产品质量和患者安全的风险。

医药产品的生命周期

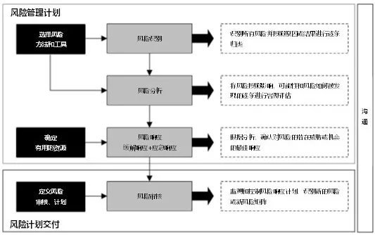
      对于制药工业来说,这个通用的流程同样也是适用于不同项目类别(如GAMP)和具体的风险类别(如质量风险管理),并贯穿于风险评估,控制和审核等各个阶段。下图为通用风险管理流程。

通用的风险管理流程


项目全生命周期中的风险管理

      本节课我们邀请到在制药行业有长达22年的项目管理经验且精通无菌,口服,生物等制药项目设计、建设、施工和验证的戚鉴铭老师给大家带来精彩的授课培训讲解。课程将分为以下三部分给大家介绍:

01 药物产品的风险类别

按风险后果分类

  • 无法得到监管审批

  • 产品上市推迟

  • 产品质量无法接受

  • 未能达到技术性能指标

  • 超过生命周期成本估算

药物产品的风险类型-按风险后果分类

按风险原因分类

  • 人员

  • 机器

  • 天然属性

  • 物料

  • 方法

  • 措施

药物产品的风险类型-按风险原因分类


02 产品的质量风险管理

产品的质量风险管理包含以下几个方面

  • 产品质量风险管理(QRM)的介绍

  • 项目背景下的QRM生命周期

  • 项目背景下的人类启发式

  • QRM的具体应用举例

产品生命周期中QRM相关活动的例子

03 项目的综合风险管理

按风险后果分类

项目经理应考虑项目中的潜在风险,并应建立一种风险意识文化,团队成员在项目交付的每个阶段的风险都在进行识别,评估和降低/消除。风险的性质和影响将随时间而变化

项目的综合风险管理

      综上信息,主要对制药工业中风险管理的以上三方面进行了详细阐述:药物产品风险类型:基于对药品生产全生命周期的风险掌控要求;产品质量风险管理(QRM):主要是控制产品质量和患者安全;项目综合风险管理:风险掌控目标是项目的目标完成,在各个阶段的风险掌控。让大家全面的了解了整个制药项目生产中的风险管理,搭建了风险管理方面一个全面的框架。


适用对象

质量管理人员

验证管理人员

工程管理人员

生产管理人员


预约进入直播间

      本次课程非全网直播,如您感兴趣可扫描下面二维码登录并审核后获得锁定进入直播间的资格:

      感谢您一直的支持,我们也会把多年的国内外交流经验及专业的专家团内部研讨并汇总的精华内容分享给大家。分别呈现在后期不同课程中,课程预告如下:后期直播课课表(计划内容可能存在微调,计划时间:晚7:55开始,课程时长1-1.5小时)


在线客服系统