直播前言
纯蒸汽检测是纯蒸汽发生器及大型灭菌器使用前的一个必要的验证环节,纯蒸汽的检测是否达标将直接影响到灭菌器的灭菌效果,对其相关参数进行验证,以保证最终的灭菌效率符合产品放行的质量要求。
所有的纯蒸汽质量检测基本上都是基于国际认可的标准(如EN 285:2015,HTM 2010,HTM 2031)。这些标准对纯蒸汽的测试和认证提供了最基本的指导。其中大家最为熟悉的是EN 285标准。
本次课程中我们从EN 285标准入手,结合标准为大家讲解检测蒸汽质量三个重要的参数:干度值,过热值和不凝性气体。
1.干度值测试
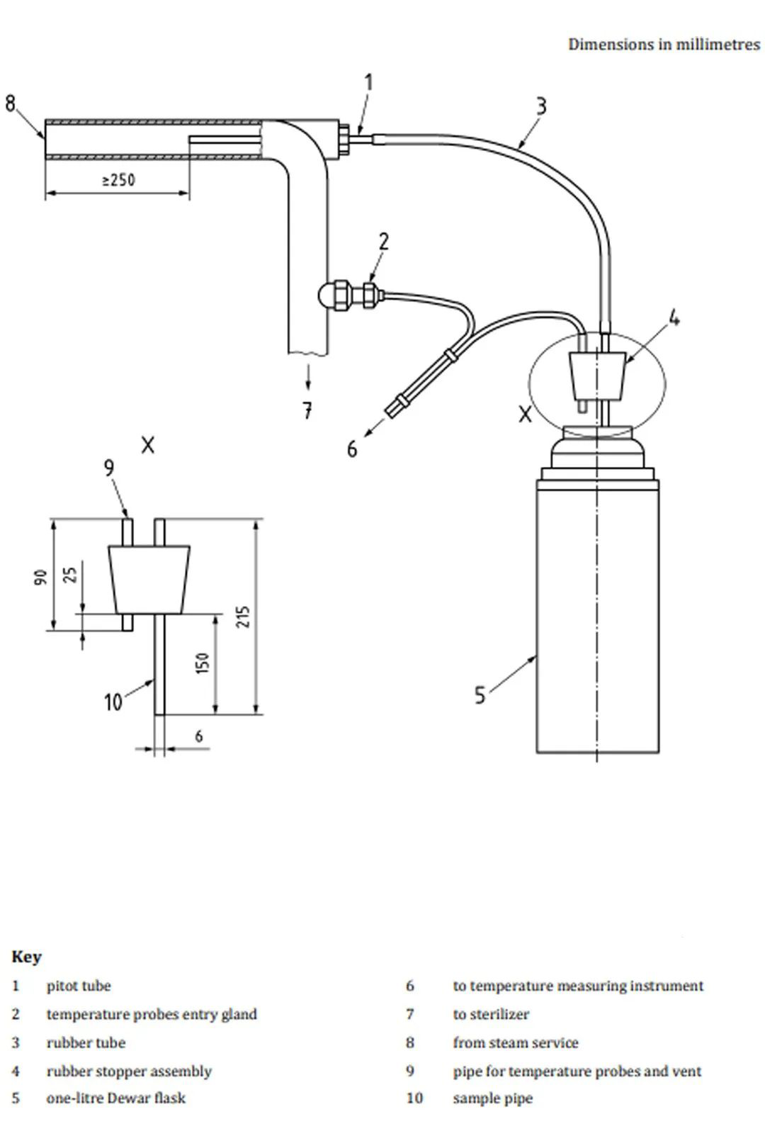
干度值:干度值反映的是纯蒸汽当中所含水汽的比例。其检测目的是去除包材上的水滴,保证灭菌效率。


干度值标准图与检测实拍
干度值的测试方法如下:
1.称量瓶子和带夹子的橡胶塞的重量。记录重量为(M1)。
2.向保温瓶内倒入650±50ml的冷水(低于27℃)。称量保温瓶的重量,并进行记录为(M2)。
3.确保橡皮管和保温瓶被密封起来。
4.将温度探头引入到瓶中的水里。摇动瓶子并记录瓶中水的温度(T0)。
5.观察记录测试过程中的蒸汽温度,测试完成之后计算温度的平均值(Ts)。
6.当保温瓶里面的温度接近80℃、断开橡皮管和不锈钢管。在安装仪器过程中注意防护。摇动保温瓶使其彻底均匀。记录温度为(T1)。
7.称量瓶子和带夹子的橡胶塞的重量,并记录重量 M3。
并通过如下公式计算干度值
D=干燥值
Mw=水在瓶的初始质量:M2-M1
Mc=冷凝物收集的质量:M3-M2
T0=瓶中水的初始温度
T1=瓶中水和凝结物的最终温度
Ts =送到瓶中的蒸汽的平均温度
L=Ts温度下蒸汽的干燥饱和度的潜热(KJ/kg)
2.过热值测试
过热值:过热值指的是在某一压力下,温度值超出该压力下的沸点温度的蒸汽,而超出温度的数值则为过热度。其检测目的是保证蒸汽冷凝,释放灭菌所需的潜热。


过热值标准图与检测实拍
过热值的测试方法如下:
1.在蒸汽管进入口插入一个温度传感器。蒸汽管可能很热,应采取预防措施应对灼伤和残留蒸汽出现。
2.温度探头应当放置在蒸汽管的几何中心位置。在蒸汽管里插入一个合适大小的皮托管。
3.热膨胀管插入一根热电偶,探测点在膨胀管的几何中心位置。
4.打开蒸汽源,采取必要的措施防止来自皮托管的灼伤情况。记录蒸汽管道内温度、热膨胀管道内蒸汽到达的温度(Te)。
并通过如下公式计算过热值
过热值 = Te - T0
T0:当地大气压下沸点温度
3.不凝性气体测试
不凝性气体测试:不凝性气体是在常温下溶解在水中的空气,主要成分是空气(氧气、氮气、氢气等)。其检测目的是避免出现蒸汽压力达标而温度不达标的假象。
![]() |
![]() |
不凝性气体标准图与检测实拍
不凝性气体测试方法如下:
1.在测试开始之前,确保冷水控制阀门完全打开,蒸汽阀门关闭。
2.打开水泵的供水电源,之后确保冷却水从出水口流出,并缓慢打开主蒸汽阀。如果冷却水不足将会发生危险。应采取防护措施。
3.打开滴管旋塞,压缩橡皮球把水吸到0刻度的位置。
4.确保量筒是空的,缓慢打开蒸汽阀门增加或减少水和蒸汽的流量阀门,使温度在70~75℃。
5.不凝气体会跑到到滴管的顶部。排出的水由量筒收集起来。
6.当至少100ml的水被收集在量筒中时记录滴管中收集气体的体积(Vb)和水在量筒中的体积(Vc)。
并通过如下公式计算不凝性气体
不凝性气体 = (Vb/(Vc-Vb))×100%
产品应用
KSA SQ1
蒸汽质量测试仪
KSA SQ1E
蒸汽质量测试仪
KSA SQ2
纯蒸汽取样器
适用对象
质量管理人员
验证管理人员
工程管理人员
生产管理人员